开云体育除上述大型封测企业外-开云官网切尔西赞助商 (中国)官方网站 登录入口
发布日期:2025-11-13 12:10 点击次数:119
《科创板日报》10月31日讯(记者陈俊清)10月30日,上交所官网自满,盛合晶微半导体有限公司(下称“盛合晶微”)科创板IPO审核情景变更为已受理。
盛合晶微官网自满,该公司是集成电路晶圆级先进封测企业,起步于先进的12英寸中段硅片加工,并进一步提供晶圆级封装(WLP)和芯粒多芯片集成封装等全历程的先进封测管事,勤劳于相沿各种高性能芯片,尤其是图形科罚器(GPU)、中央科罚器(CPU)、东谈主工智能芯片等。

盛合晶微这次科创板IPO拟募资48亿元,主要投向三维多芯片集成封装名堂和超高密度互联三维多芯片集成封装名堂。
营规复合增长率在寰宇封测前十大企业中位居第一
字据Gartner的统计,2024年度,盛合晶微是寰宇第十大、境内第四大封测企业,且该公司2022年度至2024年度营业收入的复合增长率在寰宇前十大企业中位居第一。
财务进展方面,盛合晶微连年来营收净利总体呈快速增长的态势。2022年至2024年及2025年上半年,该公司罢了营业收入约为16.33亿元、30.38亿元、47.05亿元、31.78亿元,2022 年至2024年复合增长率达69.77%;同时归母净利润分歧约为-3.29亿元、3413.06万元、2.14亿元、4.35亿元,2025年上半年的归母净利润就达到了2024年全年的2倍以上。
拆分业务来看,盛合晶微主营业务构因素别为中段硅片加工、晶圆级封装、芯粒多芯片集成封装,2025年上半年,上述业务收入分歧为9.92亿元、3.94亿元、17.82亿元,占主营业务收入比分歧为 31.32%、12.44%、56.24%。
盛合晶微给与“客户定制,以销定产”的受托坐褥加工花样,字据客户提供的业务瞻望狡计产能,并按所在进行投产。
研发干预方面,盛合晶微叙述期内研发用度分歧为2.57亿元、3.86亿元、5.06亿元和3.67亿元,在各期营收当中的占比分歧为15.72%、12.72%、10.75%和11.53%。禁止本年上半年,盛合晶微领有519 项境内专利、72项境外专利以很是他贸易玄妙。
叙述期内,盛合晶微对前五大客户的共计销售收入占比分歧为72.83%、87.97%、89.48%和90.87%。其中,盛合晶微对第一大客户的销售收入占比分歧为40.56%、68.91%、73.45%和74.40%,呈现握续普及的趋势。招股书自满,盛合晶微管事的第一个客户为高通。
行业头部企业集中度高
字据Gartner的统计,2024年寰宇前十大封测企业中,前三大企业的市集份额共计占比约为50%。中国大陆和中国台湾的企业在集成电路封测行业占据上风地位,2024年寰宇前十大封测企业中,中国大陆和中国台湾分歧有4家和3家企业。
中国大陆集成电路封测行业主要有长电科技、通富微电、华天科技三家大型封测企业,其封装体式布局完善,业务范围较高。除上述大型封测企业外,凭借在某些细分范围积贮的本事,中国大陆袒知道较多专注于特定范围或特定工序的新兴封测企业,但其业务范围与大型封测企业比拟仍较小。
2024年,除上述三家大型封测企业的营收范围卓越100亿元外,中国大陆其他封测企业的营收范围均在50亿元以内。
详尽型封测企业中,盛合晶微将日蟾光、安靠科技、长电科技、通富微电、华天科技、甬矽电子看成可对比公司;专科型封测企业中,其可对比公司为颀中科技、京元电子、伟测科技、晶方科技;晶圆制造企业中,其可对比公司为台积电、英特尔、三星电子。

在可对比的专科型封测企业中,盛合晶微营收名次靠前,而在可对比的详尽型封测企业和晶圆制造企业企业中,其营收排在结尾。
高通、中芯海外齐投了
盛合晶微前身为中芯长电半导体(江阴)有限公司,由中芯海外与长电科技结伴创立。2021年中芯海外以3.97亿好意思元转让所握55.87%股权后改名为盛合晶微。
竖立于今,盛合晶微共历经5次融资,其中多轮融资金额卓越数亿好意思元,背后投资方威望巨大。
具体来看,该公司2015年11月的A轮融资投资方包括中芯海外、高通创投、国度集成电路产业投资基金。随后于2021年、2023年发生的C轮和C+轮融资金额分歧为3亿好意思元、3.4亿好意思元,况且引入了厚望系和中金系激动。
盛合晶微最近一期融资发生在2024年12月,融资金额达7亿好意思元,投资方包括新国联集团、新城投资、孚腾成本、上海海外集团、临港数科基金、君联成本及国寿股权。
盛合晶微董事长、首席实践官为崔东,其出身于1971年,领有硕士商榷生学历。崔东于1996年至1998年间任电子工业部办公厅文牍;1998年至2002年,历任上海华虹集团有限公司董办副主任、北京攀附处主任;2002年至2009 年,任华虹海外好意思国公司(Hua Hong Intl (USA) LLC)副总司理;2009年12月至2011年8月,任中电成本(CEC Capital USA LLC)总裁;2011年至2015年,历任中芯海外副总司理、资深副总裁、实践副总裁;2014年至2021年,任公司实践董事、首席实践官;2021年6月于今,任盛合晶微董事长兼首席实践官。
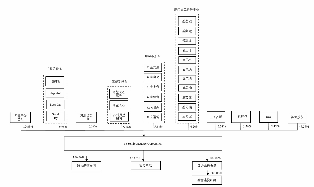
股权结构方面,禁止招股诠释书签署日,盛合晶微前五大激动分歧为无锡产发基金、招银系激动、深圳远致一号、厚望系激动、中金系激动,握股比例分歧为10.89%、9.95%、6.14%、6.14%、5.48%。

招股书自满,最近两年内,盛合晶微无控股激动且无履行禁止东谈主。由于该公司激动之间的有计划有计划未骨子改造其股权漫衍的情景,因此,盛合晶微任何单一激动均无法禁止激动会且不及以对激动会有贪图产生决定性影响。
(著作起原:科创板日报)开云体育
海量资讯、精确解读,尽在新浪财经APP